In the patient care chain, medicines are essential items and play a critical role in patient recovery. Inefficient inventory management leads to drug shortages, lack of continuity of drug inventory, reduced patient safety, poor... more
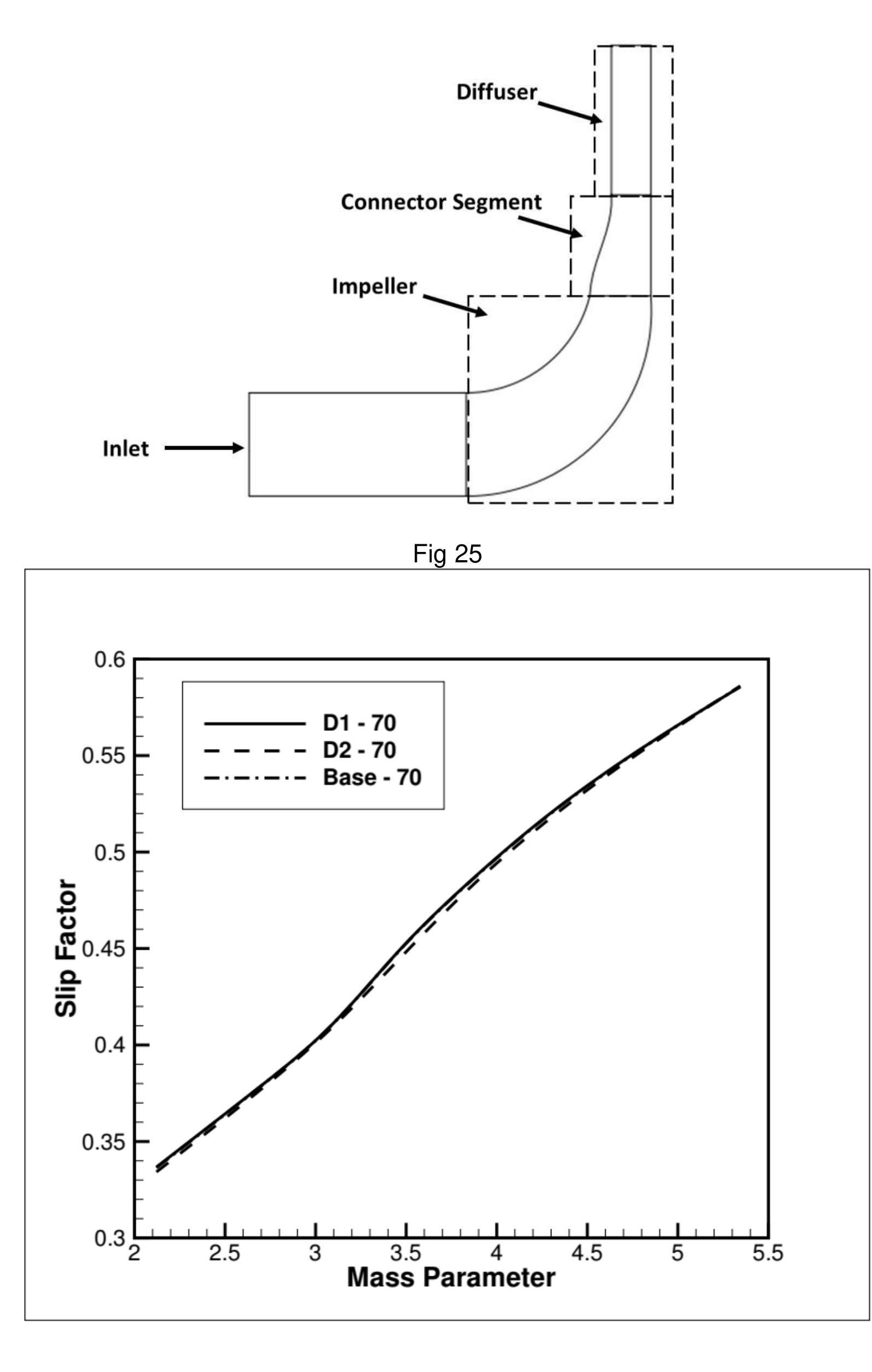
There are many pieces of research considering slip phenomenon in centrifugal compressors to drive equations for prediction of the slip factor. Inevitably, some simplifications have been imposed on the flow field characteristics and... more
Photovoltaic (PV) systems encounter substantial losses throughout their lifespan due to the different derating factors of PV modules. Those factors mainly vary according to the geographical location and PV panel characteristics. However,... more
Photovoltaic (PV) systems encounter substantial losses throughout their lifespan due to the different derating factors of PV modules. Those factors mainly vary according to the geographical location and PV panel characteristics. However,... more
Following a rise in population, load demand is increasing even in the remote areas and islands of Bangladesh. Being an island that is also far from the mainland of Bangladesh, St. Martin’s is in need of electricity. As it has ample... more
An air compressor is the core component of the air supply system of a hydrogen fuel cell, which demands high efficiency and reliable stability in a wide operation region. In this work, a centrifugal air compressor for a hydrogen fuel cell... more
In this study, the scale and strategic importance of ERP systems is identified and the problem of ERP implementation is defined. The paper offers a framework for managers which provides the basis for developing an ERP implementation... more
The present work aims to carry out an off-design turbocharger modelling powered by exhaust gases from a Wärtsilä 20V34SG engine. First of all, 1-D engine model was already developed in GT-Power software while considering a thermodynamic... more
There are many pieces of research about driving equations for prediction of the slip factor in centrifugal compressors. Inevitably, some simplifications have been imposed by them on the flow field characteristics and effects of many... more
In this research, multi-level optimization of the pro le of the splitter blades of a turbocharger compressor is performed using genetic algorithm in order to improve its performance. Successive corrections of the pro le at hub, mid-span,... more
A computationally inexpensive linked ANN-optimization model for planning of groundwater development for agricultural usage is presented and illustrated on a canal command area in India. The planning ensures optimization of zonal crop... more
Groundwater development in canal areas, apart from providing subsurface drainage, helps in enhancing the crop areas since the canal supplies are rarely adequate to meet the complete irrigation demands. Sustainability of this crop area... more
This work aims to present an industrial perspective on Catalytic Wet Peroxide Oxidation (CWPO) technology. Herein, process simulation and experimental design have been coupled to study the optimal process conditions to ensure... more
Over the past few years, water allocation problem has increasingly spotlighted by governments, researchers and practitioners. As water plays an important role in people's life and business environment, the problem of water allocation... more
A computationally inexpensive linked ANN-optimization model for planning of groundwater development for agricultural usage is presented and illustrated on a canal command area in India. The planning ensures optimization of zonal crop... more
This article addresses the challenges of scheduling patients with stochastic service times and heterogeneous service sequences in multi-stage facilities, while considering the availability and compatibility of resources with presence of a... more
This paper is concerned the flow simulation and performance analysis of the Centrifugal Compressor Using CFD-Tool. The complex internal flow of centrifugal compressor can be well analyzed, and the unique design system needs to be... more
Designing a production process normally is involved with some important constraints such as uncertainty, trade-off between production costs and quality, customer's expectations and production tolerances. In this paper, a novel... more
A computationally inexpensive linked ANN-optimization model for planning of groundwater development for agricultural usage is presented and illustrated on a canal command area in India. The planning ensures optimization of zonal crop... more
This paper presents optimal operating conditions for the post-combustion CO 2 capture process utilizing aqueous amine solutions obtained using a process simulator (HYSYS). Three alkanolamine solutions (Methyldiethanolamine MDEA,... more
This paper demonstrates the use of models for development of optimal groundwater extraction strategies for an area in which the availability of water from other sources is anticipated by the end of the planning period. The study area: (1)... more
The study aims to develop an information-computing complex for computer design of a centrifugal compressor with parallel calculation of stages and optimization of the geometric parameters of the impellers and the diffusers. The paper... more
A centrifugal compressor, with backward swept impeller, was designed for industrial applications and its performance was evaluated through numerical simulations. The baseline impeller geometry was then modified at the inducer leading edge... more
The extension and application of a queuing network model to the management of core logistic processes at the Gioia Tauro marine container terminal is presented. Real features incorporated in the model require simulation to solve it. A... more
In this paper a constraint programming (CP) approach for calculating release dates for lots within a supply chain environment is investigated. The lot start times are verified by a simulation model using different dispatching rules... more
In this paper, a metamodel based hybrid algorithm was developed for optimization of digital computer simulation models. The simulation models are considered to be computationally expensive. It is also considered to have a single... more
The embedding optimization modeling approach is adapted to aid sustainable groundwater quantity and quality management of complex nonlinear multilayer aquifers. Implicit block-centered finite difference approximations of the quasi... more
By extending the concept of response matrix to consider "active" and "passive" effects, an efficient response matrix method is developed for coupling a groundwater simulator and a regional agricultural management model The method... more
This work aims to present an industrial perspective on Catalytic Wet Peroxide Oxidation (CWPO) technology. Herein, process simulation and experimental design have been coupled to study the optimal process conditions to ensure... more
The embedding optimization modeling approach is adapted to aid sustainable groundwater quantity and quality management of complex nonlinear multilayer aquifers. Implicit block-centered finite difference approximations of the quasi... more
It has always been important to study the development and improvement of the design of turbomachines, owing to the numerous uses of turbomachines and their high energy consumption. Accordingly, optimizing turbomachine performance is... more
In this paper, a methodology for conjunctive use of surface and groundwater resources with emphasis on water quality is developed using Genetic Algorithms (GAs) and the Artificial Neural Networks (ANNs). Water supply with acceptable... more
In this paper, a methodology for conjunctive use of surface and groundwater resources is developed using the combination of the Genetic Algorithms (GAs) and the Artificial Neural Networks (ANN). Water supply to agricultural demands,... more
The number of missed appointments in healthcare institutions in Nigeria caused problems, hence the need for integrated healthcare system to intervene and provide seamless care for patients. Appointment scheduling system lies at the... more
It has always been important to study the development and improvement of the design of turbomachines, owing to the numerous uses of turbomachines and their high energy consumption. Accordingly, optimizing turbomachine performance is... more
The increasing customization of products, which leads to greater variances and smaller lot sizes, requires highly flexible manufacturing systems. These systems are subject to dynamic influences and demand increasing effort for the... more
With an ageing population and more efficient treatments, demand for cancer care is increasing. Therefore, hospitals need to find ways to improve their operational efficiency for cancer care. In this article, we review the contributions in... more
The extension and application of a queuing network model to the management of core logistic processes at the Gioia Tauro marine container terminal is presented. Real features incorporated in the model require simulation to solve it. A... more
In India in recent decades, groundwater has emerged as a principal source for meeting drinking and irrigation needs. As a result, groundwater depletion and over-extraction are acknowledged as major concerns. Different policy interventions... more
A computationally inexpensive linked ANN-optimization model for planning of groundwater development for agricultural usage is presented and illustrated on a canal command area in India. The planning ensures optimization of zonal crop... more
Water resources are one of the essential natural resources of human life and are one of the most important factors limiting the natural environment, the survival of human societies, and development. On the other hand, phenomena such as... more
Modern companies have to face challenging configuration issues in their manufacturing chains. One of these challenges is related to the integrated allocation and scheduling of resources such as machines, workers, energy, etc. These... more
In this article a new algorithm is developed for optimizing computationally expensive simulation models. The optimization algorithm is developed for continues unconstrained single output simulation models. The algorithm is developed using... more
Electronic systems are usually required to maintain the value of their parameters within set limits over a wide range of conditions, for large variations of internal or external factors. Given the large number of factors that need be... more
Advances in facility design and technology are leading to novel uses of healthcare delivery space including flexible and shared clinical space increasing collaboration and communication in multidisciplinary care settings. With new... more
























































![Fig. 1. Location of Nekpur and Meyar village in Rajgir block of Nalanda, Bihar, India. [Reprinted from Bandyopadhyay et al. 2021, under Creative Commons-BY-4.0 license (https://creativecommons.org/licenses/by/4.0/).]](https://figures.academia-assets.com/81493374/figure_001.jpg)













